Помогите!!! SOS!!!!!!!!
нужен клапан в карб Pipe 3TD-14197-00-00
|
#1 - 2 марта 2016, среда
|
|||
|
Посетитель
Сообщений: 4
Владимир
3675 дней назад
|
0
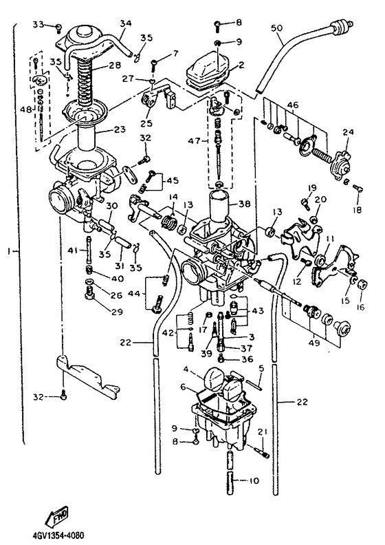
Очень нужен клапан в карб Pipe 3TD-14197-00-00 (под номером 50)
Прикрепленные файлы:
|
||
|
#2 - 2 марта 2016, среда
|
|||
|
Посетитель
Сообщений: 69
Красково
1269 дней назад
|
0
50 - это не клапан, это трубка с воздушным фильтром на конце. Можно сколхозить из подручных материалов.
Редактировалось: 1 раз (Последний: 2 марта 2016 в 19:14)
|
||
|
#3 - 2 марта 2016, среда
|
|||
|
Посетитель
Сообщений: 4
Владимир
3675 дней назад
|
0
Если это просто трубка с фильтром, то фильтр должен оказывать какое-то определенное сопротивление, иначе не откроется вторая камера.
|
||
|
#4 - 2 марта 2016, среда
|
|||
|
Посетитель
Сообщений: 1239
4 дня назад
|
0
Мишан, не заморачивайся. Фильтр там стоит, чтобы говна в полость мембраны не летели. В нём просто мелкая сетка, есть и тюнинговые фильтра - у них очистка более тонкая. А вешать туда можешь хоть автошный топливный - на работу не повлияет.
Я не "скАчу"...!
|
||
|
#5 - 2 марта 2016, среда
|
|||
|
Посетитель
Сообщений: 4
Владимир
3675 дней назад
|
0
Огромное Спасибо!!!
|
||
|
#6 - 2 марта 2016, среда
|
|||
|
Посетитель
Сообщений: 576
Киев
1126 дней назад
|
0
распиливал свой фильтр, там стоит паролон, зажатый с двух сторон металической сеткой
можеш заменить его погружным фильтром бензопил TT600R DJ01/5CH '99
|
||
|
#7 - 3 марта 2016, четверг
|
|||
|
Посетитель
Сообщений: 4
Владимир
3675 дней назад
|
0
спасибо))))))
|
||
|
#8 - 12 марта 2016, суббота
|
|||
|
Администратор
Сообщений: 183
Москва
1029 дней назад
|
0
Блин,никогда не разбирал этот фильтрик и думал что это типа расширительного бачка для отсечки ненужной влаги.Если это фильтр то при засорении его карбулятор имеет право не правильно работать.Вот.
Ну посетила такая мысля.На SRXах кикстартерных такой трубки с фильтриком вообще нет. |
||
|
#9 - 13 марта 2016, воскресенье
|
|||
|
Посетитель
Сообщений: 186
курск
2098 дней назад
|
0
на srx этот канал сделан в верхней части диффузора ( в виде двойной стенки) в сторону воздухана ...так что тоже самое есть только в другом виде
Фанатичный ямаховод.
|
||
Быстрый ответ
У вас нет прав, чтобы писать на форуме.
