У кого нибудь есть в разборе двигатель от TT600R??
нужна запчасть
|
#1 - 5 апреля 2016, вторник
|
|||
|
Посетитель
Сообщений: 23
Оренбург
3588 дней назад
|
0
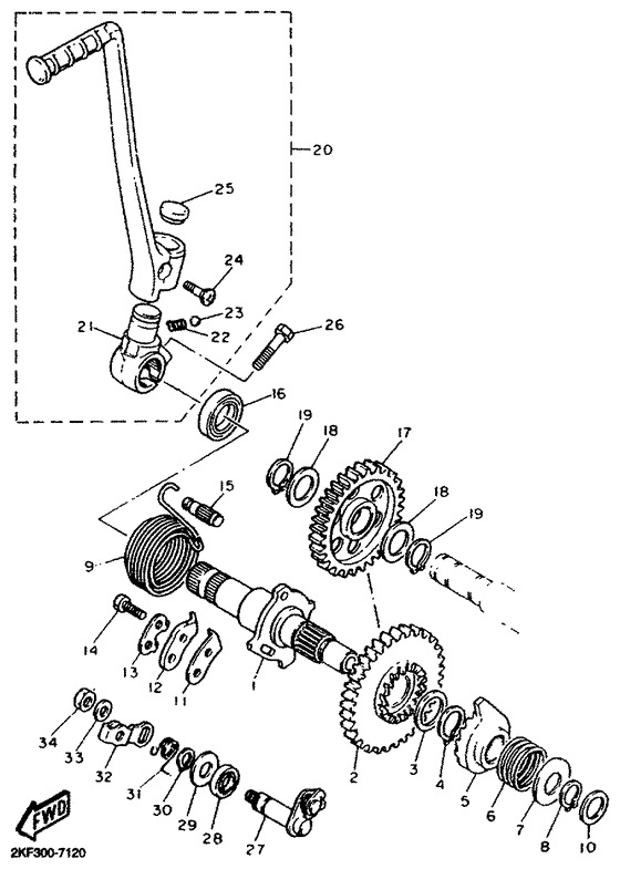
Всем Здравствуте! Ни у кого нет разобранного двигателя от ттр600 ? нужна запчасть №5
Прикрепленные файлы:
TT600R. Оренбург
|
||
Быстрый ответ
У вас нет прав, чтобы писать на форуме.
