ремонт задней подвески
что нужно????
|
#1 - 22 января 2014, среда
|
|||
|
Посетитель
Сообщений: 47
4411 дней назад
|
0
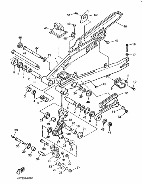
Мужчины знающие прошу помощи при заказе!!!! что из этого нужно! исключением являются сальники и шайбы! Ответы меняй всё не принимаются!!!! кто менял ответьте!
Прикрепленные файлы:
|
||
|
#2 - 23 января 2014, четверг
|
|||
|
Посетитель
Сообщений: 278
Санкт-Петербург
1864 дня назад
|
0
Менял раза три и все время что-то разное.
Разбирай, замеряй, смотри износ: сделаешь вывод что нужно заменить. Вот две темы в помощь: http://xt600.ru/forum/thread15.html http://xt600.ru/forum/thread309.html XT600E'03, Санкт-Петербург
|
||
|
#3 - 14 марта 2014, пятница
|
|||
|
Посетитель
Сообщений: 3
Москва
4403 дня назад
|
0
всем большой привет. изучаю вопрос о снижении высоты по седлу XT600e. очень нужен эскиз, а еще лучше чертеж нижнего рычага прогрессии для снижения задней подвески. хочу заказать на заводе. на ебее есть, но очень дорого. спасибо.
|
||
|
#4 - 14 марта 2014, пятница
|
|||
|
Посетитель
Сообщений: 138
Курган
3629 дней назад
|
0
У меня сейчас разобрана, завтра могу померять расстояния между осями, вечерком выложу. http://xt600.ru/forum/thread15-5.html#5654 Рычаг номер 17 или 25 ?
XT600E 2001 4PTA
|
||
|
#5 - 14 марта 2014, пятница
|
|||
|
Посетитель
Сообщений: 3
Москва
4403 дня назад
|
0
25. а у тебя заниженная версия? из какого материала сделана? самоделка или с ебея? спасибо. у меня рост 170. я еще бак на 23 л. поставил. центр тяжести еще повысился.Добавлено спустя 4 минутыи еще. там втулки запрессованы или скользящая посадка?
|
||
|
#6 - 14 марта 2014, пятница
|
|||
|
Посетитель
Сообщений: 138
Курган
3629 дней назад
|
0
Alex2000, у меня обычная версия. Я думал тебе нужен чертеж обычного рычага для обмозгования самодельного. Значит не так понял, сорри. Мерить?
XT600E 2001 4PTA
|
||
|
#7 - 14 марта 2014, пятница
|
|||
|
Посетитель
Сообщений: 3
Москва
4403 дня назад
|
0
спасибо. не надо. удачи.
|
||
Быстрый ответ
У вас нет прав, чтобы писать на форуме.
