#121 - 14 февраля 2014, пятница
|
|
Посетитель
Сообщений: 244
Минск
3271 день назад
|
0
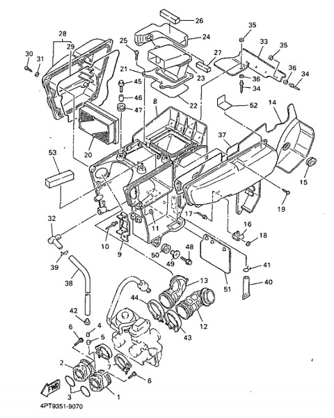
Понятно, спасибо. Но в коробе у меня два выхода рядом друг с другом. В один выход я вставил трубку вентиляции картера а в другую думал вставить LazyCat:отрезок шланга с маленьким фильтром . Или все-таки он должен болтаться и не соединяться с коробом? Тогда зачем второй выход с короба? Добавлено спустя 11 минутВсе! Понял! Посмотрел на картинке, это слив воздушного короба. А отрезок шланга с маленьким филльтром должен болтаться, судя по рисунку.
Изображение уменьшено. Щелкните, чтобы увидеть оригинал.
Ybr 125 ->Transalp 600 ->XT 600E->Dr250
|
#122 - 14 февраля 2014, пятница
|
|
Посетитель
Сообщений: 278
Санкт-Петербург
1909 дней назад
|
0
Sasa:А отрезок шланга с маленьким филльтром должен болтаться, судя по рисунку. Да, должен болтаться и лучше этот фильтр с крупными отверстиями заменить на какой-нибудь более качественный. Иначе в камере второго карбюратора над вакуумной мембраной будет скапливаться пыль. А если собираешься преодолевать броды, то лучше эту трубку, как и все трубки идущие от карбюратора, вывести под седло.
XT600E'03, Санкт-Петербург
|
#123 - 14 февраля 2014, пятница
|
|
Посетитель
Сообщений: 244
Минск
3271 день назад
|
0
Nick371, Спасибо. Вроде разобрался, но проблемма осталась старая: работает на подсосе хорошо, если убрать - то плохо, если "газануть" , то глохнет... Прогрел до температуры масла 70°C, стало лучше, но все равно на холостых перебои, при "газе" глохнет...  .
Ybr 125 ->Transalp 600 ->XT 600E->Dr250
|
#124 - 15 февраля 2014, суббота
|
|
Посетитель
Сообщений: 595
2186 дней назад
|
0
дак система ХХ не работает толком или подсос воздуха.. все пляски с карбом начинаются от уровня топлива, при этом клапана и компрессия должны быть в норме.
|
#125 - 15 февраля 2014, суббота
|
|
Посетитель
Сообщений: 278
Санкт-Петербург
1909 дней назад
|
0
Busse:дак система ХХ не работает толком или подсос воздуха.. все пляски с карбом начинаются от уровня топлива, при этом клапана и компрессия должны быть в норме. + проверь до кучи чистоту фильтра под игольчатым клапаном. Тут в форуме много про это было написано.
XT600E'03, Санкт-Петербург
|
#126 - 19 февраля 2014, среда
|
|
Посетитель
Сообщений: 244
Минск
3271 день назад
|
0
Если полностью разобрать карб до винтика и потом собрать, то какие параметры влияют на его работу и нужно знать как их ставить: винт качества, положение двух игл и уровень поплавкой камеры? В мануале нашел только какой должен быть уровень камеры...
Ybr 125 ->Transalp 600 ->XT 600E->Dr250
|
#127 - 19 февраля 2014, среда
|
|
Посетитель
Сообщений: 278
Санкт-Петербург
1909 дней назад
|
0
Иглы при стандартных настройках вот табличка: http://xt600.ru/stati/tablica-otlichii-harakteristik-razlichnyh-modelei-xt600.html Винт качества в зависимости от года выпуска. Тоже где-то здесь была табличка и ссылка в форуме тоже была не так давно. Сейчас навскидку не могу найти. Заодно проверь размеры жиклеров.
Редактировалось: 1 раз (Последний: 19 февраля 2014 в 17:09)
XT600E'03, Санкт-Петербург
|
#128 - 3 марта 2014, понедельник
|
|
Посетитель
Сообщений: 244
Минск
3271 день назад
|
0
Периодически настраивают высоту поплавка. Я тоже сегодня отрегулировал с помощью "язычка". Как эта высота сбивается? "Язычек" от времени разгибается??Добавлено спустя 13 минутРазобрал весь карб. Попродувал все отверстия, повыкручивал все жиклеры. Выкрутил винт качества, продул, закрутил/выкрутил на 4 оборота (как был)... отрегулировал попловковую камеру. Мембранки целые. Надеюсь заведется нормально... надо только винт хх отрегулировать.
Ybr 125 ->Transalp 600 ->XT 600E->Dr250
|
#129 - 3 марта 2014, понедельник
|
|
Посетитель
Сообщений: 244
Минск
3271 день назад
|
0
Завел нормально, уже хорошо. Прогрел, прокатился по гаражам. Но как-то плохо реагирует на "газ" - как-бы захлебывается. Может ли быть причина в винте качества?
Ybr 125 ->Transalp 600 ->XT 600E->Dr250
|
#130 - 4 марта 2014, вторник
|
|
Посетитель
Сообщений: 278
Санкт-Петербург
1909 дней назад
|
0
Жиклеры родные стоят? Фильтр-сеточку под игольч. клапаном проверил? Мембрану "ускорительного" насоса смотрел?
XT600E'03, Санкт-Петербург
|
#131 - 4 марта 2014, вторник
|
|
Посетитель
Сообщений: 244
Минск
3271 день назад
|
0
Фильтр-сеточка чистая, мембрана целая, жиклеры - не знаю, родные или нет. Холостой ход отрегулировал, хорошо держится. Может от винта качества такое? Уменьшить его подачу??
Редактировалось: 1 раз (Последний: 4 марта 2014 в 15:36)
Ybr 125 ->Transalp 600 ->XT 600E->Dr250
|
#132 - 4 марта 2014, вторник
|
|
Посетитель
Сообщений: 278
Санкт-Петербург
1909 дней назад
|
0
Винт ХХ на средних оборотах практически не влияет. На средних оборотах значение имеет в основном подъем игл. А что значит захлебывается? Может наооборот беднит? Если смесь сильно переобогащена, то выхлоп сильно бензином воняет.
XT600E'03, Санкт-Петербург
|
#133 - 4 марта 2014, вторник
|
|
Посетитель
Сообщений: 244
Минск
3271 день назад
|
0
Ну все равно как чего-то не хватает ему... Если беднит, то иглу поднимать надо? Вообщем пойду сейчас смотреть еще. Попробую убавить винт качества.
Ybr 125 ->Transalp 600 ->XT 600E->Dr250
|
#134 - 4 марта 2014, вторник
|
|
Посетитель
Сообщений: 278
Санкт-Петербург
1909 дней назад
|
0
Да, если беднит, то поднимать.
XT600E'03, Санкт-Петербург
|
#135 - 4 марта 2014, вторник
|
|
Посетитель
Сообщений: 33
Усть-Каменогорск
3882 дня назад
|
0
По идее если жиклеры родные и глушитель, то обе иглы должны быть на середине. Качество выкрути по мануалу, уровень в поплавковой по прозрачной трубке (от капельницы) проверь перед снятием карбюраторов.
|