TT 600R 1999 год
обсуждение эксплуатации и ремонта
|
#466 - 28 марта 2016, понедельник
|
|
|
Посетитель
Сообщений: 73
1919 дней назад
|
0
буду разбирать и смотреть
|
|
#467 - 29 марта 2016, вторник
|
|
|
Посетитель
Сообщений: 73
1919 дней назад
|
0
на что влияет шарик в нижнем клапане вилки? А то у меня он походу в одном пере отсутствует. Соответственно при регулировке отсутствует щелчок. Если только на щелчки, то все равно, а если на роботу вилки - буду искать. Вилка работает нормально. Никогда не пробивало, не стучало и не колбасило.
И еще - шайба под сальником. У некоторых она выпуклая, у меня ровная. Неродная, или как? Редактировалось: 2 раза (Последний: 29 марта 2016 в 22:28)
|
|
#468 - 30 марта 2016, среда
|
|
|
Посетитель
Сообщений: 23
Оренбург
3543 дня назад
|
0
Всем привет! со скорым открытием сезона!!! и сразу вопрос. звожу ттр600 и в районе кика при работе что то за какбудто задевает за какуето жестерню в общем звук отетливый и кик сдвинулся вперед и упирается в крышку двигателя, мож кто знает то это? или то может быть и как бороться?Добавлено спустя 3 минутыпослезавтра думал на открытие сезона ехать. а тут такое.., подскажите кто что знает. вдруг мело успею сделать
TT600R. Оренбург
|
|
#469 - 30 марта 2016, среда
|
|
|
Посетитель
Сообщений: 203
Мытищи
1807 дней назад
|
0
Allexg: Скорее всего вскрывать и смотреть.звожу ттр600 и в районе кика при работе что то за какбудто задевает за какуето жестерню в общем звук отетливый и кик сдвинулся вперед и упирается в крышку двигателя С декомпрессором все ок? Или хоть видео сними со звуком и покажи что не так. Редактировалось: 2 раза (Последний: 30 марта 2016 в 20:53)
TT600R, KL-250 SuperSherpa, VN-800, CB750-F(1980), Racer Enduro RC150-GY, Irbis TTR-125…
|
|
#470 - 30 марта 2016, среда
|
|
|
Посетитель
Сообщений: 23
Оренбург
3543 дня назад
|
0
да там думаю не услышишь.как мне кажется есть какой то ограничитель и с ним то то произошло, щас пойду на вскрытие)))Добавлено спустя 1 минутус декомпрессором вроде норм
TT600R. Оренбург
|
|
#471 - 30 марта 2016, среда
|
|
|
Посетитель
Сообщений: 576
Киев
1126 дней назад
|
0
переставь кик на один зуб назад, чтоб в крушку не упирался, может в этом дело
и проверь, может болт фиксирующий кик протерял TT600R DJ01/5CH '99
|
|
#472 - 30 марта 2016, среда
|
|
|
Посетитель
Сообщений: 1239
4 дня назад
|
0
Кик на свою ХТ электричку ставил давно... может чего и не упомню. Ограничитель/упор кика представляет из себя пластины из чернухи, в которые упирается кик при обратном ходе. Крепится к правой половине картера двумя болтиками. Он не даёт кику лупить по алюмишке. Возможно беда там? Правую крышку снимать придётся по-любому. Масло не сливай, просто положи мот на левый борт - этого вполне достаточно. Хотя про ТТ на 100% не уверен, у ХТ маслобак в раме - там работает.
Я не "скАчу"...!
|
|
#473 - 30 марта 2016, среда
|
|
|
Посетитель
Сообщений: 23
Оренбург
3543 дня назад
|
0
не получилось сегодня снять, три болтика под шестигранник уже раздолбаны и сорвать никак. завтра буду высверливать.кик обратно вверх перестал возвращаться после снятия. в общем надеюсь завтра всё выяснится и починится)
TT600R. Оренбург
|
|
#474 - 31 марта 2016, четверг
|
|
|
Посетитель
Сообщений: 1239
4 дня назад
|
+1
Не спеши с высверливанием. Иногда при выкручивании раздолбаных шестигранников помогает обычная плоская отвёртка. Главное плотно её забить. Результат не гарантирован, но всё же стоит попробовать сначала.
Я не "скАчу"...!
|
|
#475 - 31 марта 2016, четверг
|
|
|
Посетитель
Сообщений: 203
Мытищи
1807 дней назад
|
0
А еще, если позволяет место, можно под нее пропил ножевкой сделать или маленькой фрезой.
TT600R, KL-250 SuperSherpa, VN-800, CB750-F(1980), Racer Enduro RC150-GY, Irbis TTR-125…
|
|
#476 - 31 марта 2016, четверг
|
|
|
Посетитель
Сообщений: 1289
Опочка
1948 дней назад
|
+1
Про шестигранные болты:
Я стучу по нему молотком, сплющив немного сверху. Потом забиваю насадку под шестигранник прямую, она после сплющивания входит плотно. Затем одеваю вороток и срываю закисший болт. Т.к. я его обстучал, это срабатывает всегда. TT600R, Санкт-Петербург
|
|
#477 - 31 марта 2016, четверг
|
|
|
Посетитель
Сообщений: 23
Оренбург
3543 дня назад
|
0
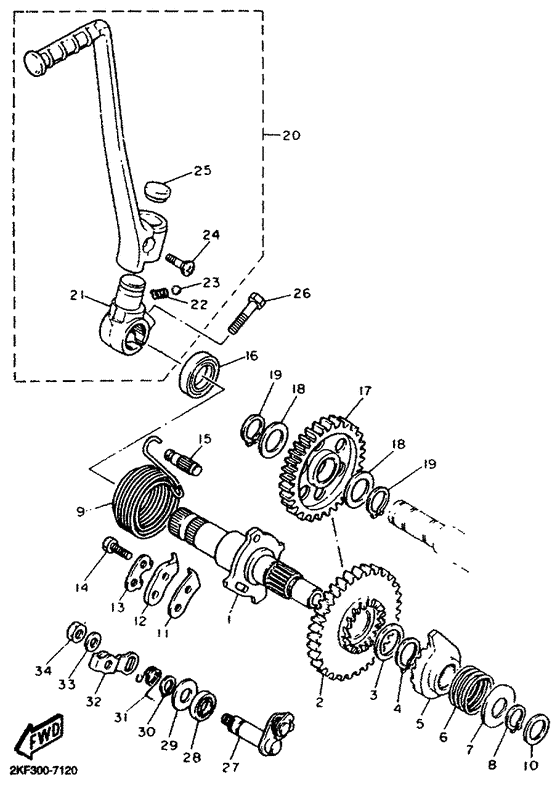
вскрыл, увидел то сломаны две запчасти. 5Y1-15671-01-00 и 2NX-15674-00-00. никто не имеет убитый двигатель?Добавлено спустя 3 минутыДобавлено спустя 4 минутыэто детали номер 5 и 12
TT600R. Оренбург
|
|
#478 - 31 марта 2016, четверг
|
|
|
Посетитель
Сообщений: 203
Мытищи
1807 дней назад
|
0
Отремонтируй. Полагаю, что 12-ю сделать с нуля можно, а на 5-ю наварить и обточить.
Хотя, смотря какая поломка у тебя там. TT600R, KL-250 SuperSherpa, VN-800, CB750-F(1980), Racer Enduro RC150-GY, Irbis TTR-125…
|
|
#479 - 31 марта 2016, четверг
|
|
|
Посетитель
Сообщений: 23
Оренбург
3543 дня назад
|
0
заказал... цена вопроса 5тыщ, просто боюсь если там разлетится и попадёт в шестерни может много бед наделать.
TT600R. Оренбург
|
|
#480 - 2 апреля 2016, суббота
|
|
|
Посетитель
Сообщений: 203
Мытищи
1807 дней назад
|
0
Allexg: заказал... цена вопроса 5тыщ, просто боюсь если там разлетится и попадёт в шестерни может много бед наделать. Там по сути и разлетаться нечему, этот узел работает только в момент, когда ты кик дрыгаешь. И делается это при наличии сварки, тисков и ножевки с дрелью и напильниками за 1 день и цена вопроса никакая, а тут 5к и ждать наверное месяц. Редактировалось: 1 раз (Последний: 2 апреля 2016 в 19:40)
TT600R, KL-250 SuperSherpa, VN-800, CB750-F(1980), Racer Enduro RC150-GY, Irbis TTR-125…
|
Быстрый ответ
У вас нет прав, чтобы писать на форуме.
